
近年來,溶液除濕空調的發展越來越受到人們關注。除濕溶液的特性對于整個系統的性能有著重要的影響,直接關系到系統的除濕效率和運行情況。所期望的除濕溶液特性有:具有較低的表面蒸汽壓、較高的溶解度、低粘度,高沸點,溶液性質穩定,低揮發性、低腐蝕性,無毒性,溶質價格低廉,容易獲得等等。
表面蒸汽壓、密度、粘度、溶解度是溶液除濕空調系統中除濕劑的主要物性參數。本文詳細介紹了混合鹽溶液物性參數的實驗測量方法,從除濕工質基本要求出發,以提高溶液性能和經濟性為原則,總結并提出了幾種混合工質的特點。
我們研究了溶液表面蒸汽壓、密度、粘度以及溶解度的實驗測量方法,總結了前人關于混合溶液的研究結果,計劃通過實驗方法測量各物性參數,擬和出計算公式。
1 除濕溶液物性參數與測量方法
1.1 表面蒸汽壓
除濕溶液除濕性能的好壞與其表面蒸汽壓的大小有直接關系。由于被處理空氣的水蒸氣分壓力與除濕溶液的表面蒸氣壓之間的壓差是水分在濕空氣和除濕溶液之間傳遞的動力,因而在除濕過程中,溶液的表面蒸汽壓越低,在相同的處理條件下,溶液的除濕能力越強,與所接觸的濕空氣達到平衡時,濕空氣具有更低的含濕量。在再生過程中,傳質的機理與除濕過程相同,僅是傳質的方向不同而已。
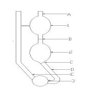
對混合溶液表面蒸汽壓的測量采用動態法(利用當液體的蒸汽壓與外壓相等時液體沸騰的原理),實驗儀器如圖1所示,具體實驗方法如下:
準確讀取實驗時大氣壓值,與實驗結束時讀取的大氣壓值取平均;
在三頸瓶中加入蒸餾水及沸石;
對實驗系統進行檢漏;
將溶液倒入三頸瓶中,直至半滿;
啟動真空泵,讓水平穩的沸騰;
調整恒溫槽溫度,測定水在不同外壓下沸騰的溫度,即溶液的表面蒸汽壓。
??????????? 
??????????????????????????????????? 圖1動態法溶液飽和蒸汽壓測定裝置
1.2 密度測量
對混合溶液密度的測量使用密度計,實驗步驟如下:
對密度計進行清潔及干燥;
確保密度計溫度與混合溶液溫度相同;
將溶液混合充分后倒入容器中;
將容器浸入恒溫水浴中;
將密度計放入溶液中浮起,讀取數值。
1.3 粘度測量
粘度也是除濕溶液性能評價的一個重要參數,低粘度的溶液,可以降低泵的功耗,減小傳熱阻力。使用特制的毛細管粘度計測量混合溶液粘度,如圖2所示,實驗步驟如下:
用溶劑清洗密度計,并干燥之;
對將要測量的混合溶液進行過濾操作;
將溶液倒入粘度計中,倒置粘度計,使A管浸沒于溶液中,在E管處提供吸力,使溶液被吸至球莖1,2處;
使粘度計正立,讓溶液流回球莖3;
將粘度計放入恒溫水浴中,靜置大約10分鐘;
在E管處加壓,使溶液流回球莖1中;
測量流出時間,記錄溶液從刻線B流至刻線C的時間,通過時間折算粘度。
???????????????????????????????????????????????????
?
???????????????????????????????????????????????????????????????? 圖2 粘度計
1.4 溶解度的測量
大部分鹽溶液的表面蒸汽壓隨溶液濃度的增大而減小,但當溶解度較大時,會出現結晶,所以如何選取混合溶液的流量比,以提高吸收率并減小液體除濕劑的用量亦是一個重要研究內容。溶解度的測量方法如下:
將待測混合溶液倒入試管中,并保證試樣溫度高于飽和溫度;
將試管放入冰瓶中,攪拌溶液,觀察隨著溫度的降低,直到有溶質析出;
當有溶質析出時,記下此時溫度,重復實驗。
2 幾種混合鹽溶液
2.1 LiCl和LiBr混合溶液
溴化鋰是一種穩定的物質,在大氣中不變質、不揮發、不分解、極易溶于水,常溫下是無色晶體,無毒、無嗅。溴化鋰極易溶于水,20℃時食鹽的溶解度為35.9g,而溴化鋰的溶解度是其3倍左右。溴化鋰溶液的蒸汽壓,遠低于同溫度下水的飽和蒸汽壓,這表明溴化鋰溶液有較強的吸收水分的能力。溴化鋰溶液對金屬材料的腐蝕,比氯化鈉、氯化鈣等溶液要小,但仍是一種有較強腐蝕性的介質。60%~70%濃度范圍的溴化鋰溶液在常溫下溶液就結晶,因而溴化鋰溶液濃度的使用范圍一般不超過70%。
氯化鋰是一種白色、立方晶體的鹽,在水中溶解度很大。氯化鋰水溶液無色透明,無毒無臭,粘性小,傳熱性能好,容易再生,化學穩定性好。在通常條件下,氯化鋰溶質不分解,不揮發,溶液表面蒸汽壓低,吸濕能力大,是一種良好的吸濕劑。氯化鋰溶液結晶溫度隨溶液濃度的增大而增大,在濃度大于40%時,氯化鋰溶液在常溫下即發生結晶現象,因此在除濕應用中,其濃度宜小于40%。氯化鋰溶液對金屬有一定的腐蝕性,鈦和鈦合金、含鉬的不銹鋼、鎳銅合金、合成聚合物和樹脂等都能承受氯化鋰溶液的腐蝕。
?????????????
????? 
????????????????? 圖3氯化鋰溶液表面蒸汽壓 ?????????????????圖4溴化鋰溶液表面蒸汽壓
圖3,4為Kashinath等人采用動態法測出的氯化鋰和溴化鋰溶液表面蒸汽壓隨溫度和濃度變化的曲線圖。從中可以看出,相同溫度濃度時,氯化鋰的表面蒸汽壓低于溴化鋰溶液的表面蒸汽壓。而Wimby等人在對混合溶液的研究中提出,在一種溶液中添加另一種溶液,最大的優點在于有效抑止結晶,而同時帶來的問題是混合溶液的粘度一般要高于單一溶液。
2.2 LiCl /LiBr和CaCl2混合溶液
氯化鈣是一種無機鹽,具有很強的吸濕性,吸收空氣中的水蒸氣后與之結合為水化合物。無水氯化鈣白色,吸收水分時放出熔解熱、稀釋熱和凝結熱,只有在700~800℃高溫時才稍有分解。氯化鈣溶液仍有吸濕能力,但吸濕量顯著減小。氯化鈣價格低廉,來源豐富,但氯化鈣水溶液對金屬有腐蝕性,其容器必須防腐。
CaCl2最大的優點是價格十分便宜,與LiBr或LiCl溶液混合,可以充分彌補后者價格昂貴的缺點。ERTAS等人提出了Cost-Effective Liquid Desiccant(CELD)的概念,經過實驗測量,確定了LiCl與CaCl2溶液混合比為1:1時,達到最優性價比的混合工質,并測量出了CELD的表面蒸汽壓,密度和粘度。分別如圖5、6、7所示。
????????????????????????????????????????????????????
????????????????????????????????????????????????????????? ?圖5 CELD溶液表面蒸汽壓
?????

????????????????????????? 圖6 CELD溶液密度?????????????????????????????? ?????? ?????? 圖7 CELD溶液粘度
2.3 其他混合溶液
除以上兩種混合方式外,還有研究表明可以加入碘化鋰溶液(LiI),硝酸鋰溶液(LiNO3),溴化鋅(ZnBr2)均可以起到抑止結晶,提高溶解度的作用。
3 結語
由于粘度大和易揮發等缺點,乙二醇、三甘醇等有機溶液已逐漸被溴化鋰、氯化鋰等鹽溶液替代。鹽溶液雖然具有一定的腐蝕性,但塑料等防腐材料的使用,可以有效的防止鹽溶液對管道等設備的腐蝕;另外鹽溶液不會揮發到空氣中影響、污染室內空氣,相反還具有除塵殺菌功能,有益于提高室內空氣品質,所以鹽溶液成為優選的液體除濕劑。為進一步通過實驗研究混合溶液性質,開發高效經濟的除濕劑奠定基礎。
您可能還對以下內容感興趣...
相關連接 :?? 1.? 除濕機?????? 2.? 調溫型除濕機



